电机轴外周面冲筋设备技术领域本实用新型涉及一种汽车转向泵电机轴制造领域,特别是涉及一种在电机轴外周面进行冲筋的设备。背景技术汽车转向系统主要包括转向盘、输入轴、扭力杆及转向助力液压系统。转向助力液压系统的液压油由汽车转向电机液压泵组提供,转向电机液压泵组包括电机、液压泵和油罐三部分,油罐与电机通过连接件连接成一体,液压泵置于油罐内,电机的电机轴穿过连接件中孔与液压泵直接连接,电机与液压泵共用一个电机轴。如图1、2所示,为了便于电机轴与其他零件进行连接,通常需要在电机轴1的光滑外周面上设置四条均匀分布的凸筋11,这样可使其他零件直接卡接在电机轴的凸筋上。目前在电机轴上进行冲筋主要通过冲压机进行,就是直接将电机轴放置在冲压机的下方进行固定,并在冲压机的滑块上设置冲压刀具,然后通过冲压机直接在电机轴上进行冲压,冲压刀具在电机轴上进行冲压后形成的条状凸起即为凸筋。由于电机轴上需要设置四条凸筋,因此需要不断旋转电机轴,连续冲压四次才能将电机轴上的凸筋冲压完成,因此工作效率非常,而且需要有操作人员不停的来旋转电机轴,工作人员的劳动强度很大,每次旋转电机轴时,旋转的角度可能会存在一定的误差,这样也会对电机轴的加工质量造成一定影响,特别会影响到后续零件的装配。实用新型内容鉴于以上所述现有技术的缺点,本实用新型的目的在于提供一种可一次性在电机轴上加工四条凸筋的电机轴外周面冲筋设备。为实现上述目的及其他相关目的,本实用新型提供一种电机轴外周面冲筋设备,包括一冲压机,所述冲压机的滑块与上模板连接,所述滑块带动所述上模板上下移动,所述上模板下方设有冲压机底座,所述上模板上设有两个平行排列的上冲筋块,两个上冲筋块之间设有间隙,所述冲压机底座上设有两个平行排列的下冲筋块,两个下冲筋块之间设有间隙,两个下冲筋块与两个上冲筋块的位置相互对应。优选地,所述上模板上设有一卡接座,所述卡接座上设有两个卡槽,两个上冲筋块分别卡接在两个卡槽内。优选地,所述冲压机底座上设有下导向柱,所述下导向柱上设有导向孔,所述上模板上设有与所述下导向柱位置相对应的上导向柱,所述上模板向下移动时,所述上导向柱插入所述导向孔。优选地,所述两个上冲筋块之间的间隙距离、两个下冲筋块之间的间隙距离尺寸为电机轴半径的1.41倍。优选地,所述两个上冲筋块下端面的两个相邻侧边设有硬化层,所述两个下冲筋块上端面的两个相邻侧边设有硬化层。如上所述,本实用新型的电机轴外周面冲筋设备具有以下有益效果:该电机轴外周面冲筋设备在使用时,直接将电机轴放置在两个下冲筋块之间,然后由冲压机直接带动上模板向下冲压,使上模板上的两个上冲筋块可直接压在电机轴上,这样上下四个冲筋块的四个棱边就会直接压入到电机轴内,从而在电机轴的外周面上形成四个凸筋。使用该冲筋设备可一次性在电机轴上直接冲压出四条凸筋,这样可有效提高生产效率,降低工作人员的劳动强度,而且四条凸筋的间隔能保证前后一致,不存在偏差,这样也可使后续零件的装配更加方便。
以下由特定的具体实施例说明本实用新型的实施方式,熟悉此技术的人士可由本说明书所揭露的内容轻易地了解本实用新型的其他优点及功效。
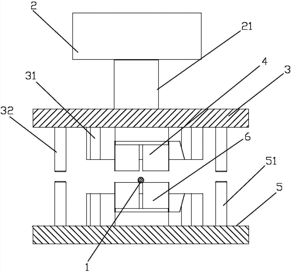
请参阅图1至图3。


须知,本说明书所附图式所绘示的结构、比例、大小等,均仅用以配合说明书所揭示的内容,以供熟悉此技术的人士了解与阅读,并非用以限定本实用新型可实施的限定条件,故不具技术上的实质意义,任何结构的修饰、比例关系的改变或大小的调整,在不影响本实用新型所能产生的功效及所能达成的目的下,均应仍落在本实用新型所揭示的技术内容所要涵盖的范围内。同时,本说明书中所引用的如“上”、“下”、“左”、“右”、“中间”及“一”等的用语,亦仅为便于叙述的明了,而非用以限定本实用新型可实施的范围,其相对关系的改变或调整,在无实质变更技术内容下,当亦视为本实用新型可实施的范畴。
如图3所示,本实用新型提供一种电机轴外周面冲筋设备,该冲压设备包括一冲压机2,冲压机2的滑块21与上模板3连接,滑块21可带动上模板3上下移动来实现对工件的冲压。在上模板3下方设有冲压机底座5,冲压机底座5与上模板3位置相对。上模板3上设有两个平行排列的上冲筋块4,两个上冲筋块4之间设有间隙。在冲压机底座5上设有两个平行排列的下冲筋块6,两个下冲筋块6之间设有间隙,两个下冲筋块6与两个上冲筋块4的位置一一对应,两个上冲筋块之间的间隙距离与两个下冲筋块之间的间隙距离相等。
该电机轴外周面冲筋设备在使用时,可直接将电机轴1放置在两个下冲筋块6之间,然后由冲压机2直接带动上模板3向下冲压,使上模板3上的两个上冲筋块4直接压在电机轴1上,这样上下四个冲筋块的四个棱边就会直接压入到电机轴1内,从而在电机轴的外周面上形成四个凸筋。
作为本实用新型的一种优选实施例,上模板3上上设有一卡接座31,卡接座31上设有两个卡槽,两个上冲筋块4分别卡接在两个卡槽内,这样可便于上冲筋块4的更换。同理,也可在冲压机底座5上设置卡接座,将下冲筋块6卡接在该卡接座内。采用这种方式冲筋块之间的距离也可进行调节。作为一种优选方式,两个上冲筋块4之间的间隙距离、两个下冲筋块6之间的间隙距离尺寸为电机轴半径的1.41倍,这样冲压出来的四个凸筋在电机轴1的外周面上均匀分布,间隔角度为90度。
作为本实用新型的另一种优选方式,可在冲压机底座5上设置下导向柱51,下导向柱51上设有导向孔,上模板3上设有与下导向柱位置相对应的上导向柱31,当上模板3向下移动时,上导向柱31可正好插入下导向柱51的导向孔内,采用这种结构可对上模板3的向下移动起到一定的导向作用。
由于长时间冲压,上冲筋块4、下冲压块6的冲压棱边磨损,因此可在两个上冲筋块下端面的两个相邻侧边设置硬化层,所述两个下冲筋块上端面的两个相邻侧边设置硬化层,这样可有效延长上冲筋块4、下冲压块6的使用寿命。
使用该冲筋设备可一次性在电机轴上直接冲压出四条凸筋,这样可有效提高生产效率,降低工作人员的劳动强度,而且四条凸筋的间隔能保证前后一致,不存在偏差,这样也可使后续零件的装配更加方便。所以,本实用新型有效克服了现有技术中的种种缺点而具高度产业利用价值。
上述实施例仅例示性说明本实用新型的原理及其功效,而非用于限制本实用新型。任何熟悉此技术的人士皆可在不违背本实用新型的精神及范畴下,对上述实施例进行修饰或改变。因此,举凡所属技术领域中具有通常知识者在未脱离本实用新型所揭示的精神与技术思想下所完成的一切等效修饰或改变,仍应由本实用新型的权利要求所涵盖。
Contact: 周先生
Phone: 186 8899 7860
E-mail: info@boosum.com
Add: 深圳市宝安区沙井后亭第二次工业109号